+36 33 431 299
2510 Dorog Bécsi út 79-81.
varoshaza@dorog.hu
Ügyfélfogadás
Közérdekű adatok
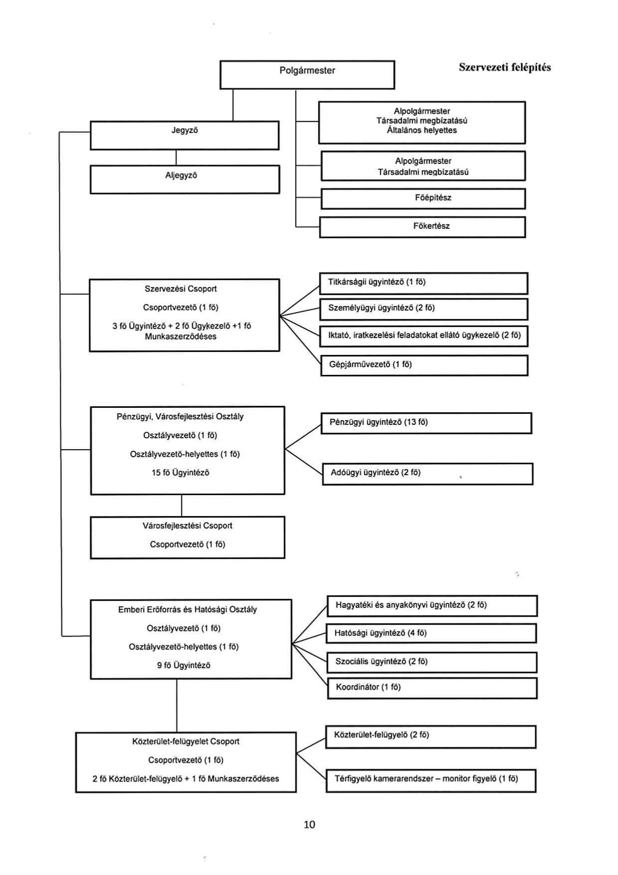
A Dorogi Polgármesteri Hivatal Szervezeti és Működési Szabályzata
A Dorogi Polgármesteri Hivatal feladatai
A dorog.hu weboldal jelenleg fejlesztés alatt áll, ezért egyes tartalmak ideiglenesen nem elérhetőek.
Kérjük türelmüket a böngészés során.